We design cutting-edge Embedded Systems and IoT solutions that transform how businesses operate. Using ESP32, Arduinos, PIC microcontrollers and Raspberry Pis, we create smart, connected solutions that enable real-time monitoring and data-driven decision-making. Our comprehensive approach covers the entire production cycle, including circuit design, prototyping and PCB designing to be a one stop solution for your Embedded Systems and IoT needs.

Signal Conditioning for Flex Sensors for Gesture Control

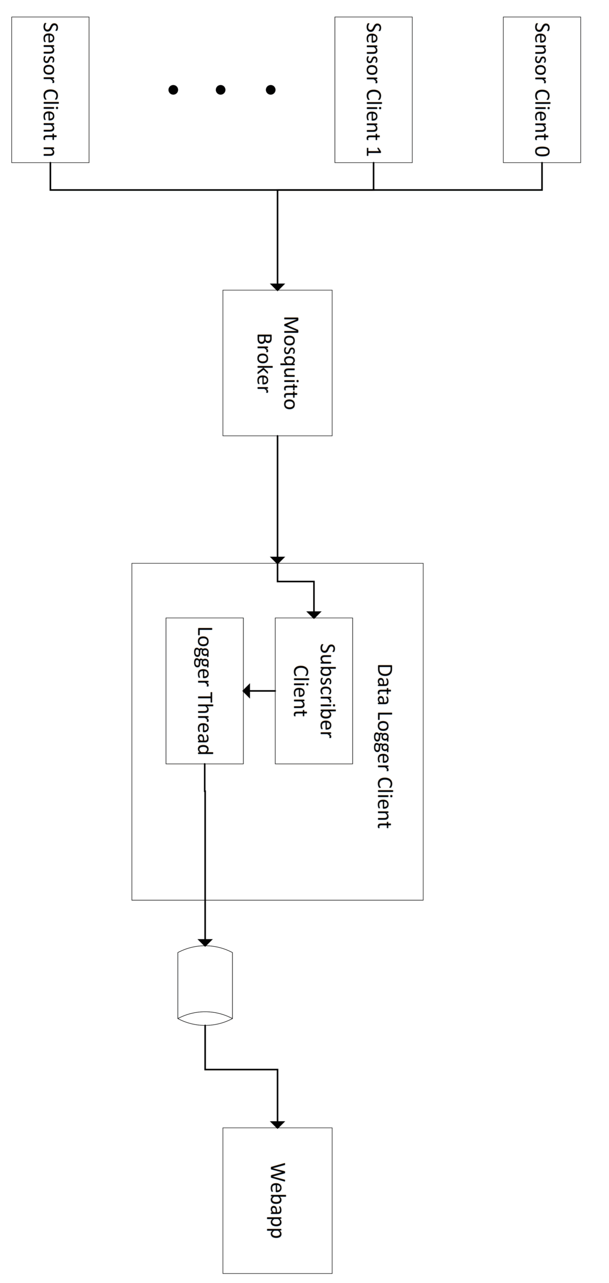
Multi Sensor and Camera Acquisition System with Local Cloud Server

PICDEMZ Zigbee Board Clone for Communication

PICKIT2 Programmer Clone for PIC Microcontrollers

Breakout Board for 18F Series PIC Microcontrollers